Высокоточная интегрированная навигационная система INS/GNSS I6700 MEMS с RTK и двумя антеннами, выходная мощность 200 Гц, напряжение 9-36 В, мощность ≤4 Вт.
Интегрированная навигационная система на основе MEMS-технологии серии I6700 отличается высокой точностью, надежностью и экономичностью. Интегрированная инерциальная навигационная система MEMSкоторый может широко использоваться в областях навигации, управления и измерений, представленных транспортными средствами, судами и беспилотными летательными аппаратами.
Интегрированная навигационная система серии I6700 объединяет высокопроизводительные MEMS-гироскопы, MEMS-акселерометры и микросхемы спутниковых GNSS-приемников. Благодаря определению угловой скорости и ускорения вращения Земли, она обеспечивает точное определение курса движения текущей несущей за счет статической самонастройки и интегрируется с трехмерными данными о скорости, положении и курсе, полученными от спутникового GNSS-приемника, для обеспечения интегрированной навигации. Интегрированная навигационная система выполняет температурный дрейф с компенсацией нулевого смещения и компенсацию полного температурного диапазона на внутреннем модуле IMU для обеспечения надежности изделия.
Данный продукт предлагает различные режимы конфигурации для работы с разными типами носителей информации, такими как воздушные, автомобильные и морские. Соответствующие режимы сценариев помогают обеспечить долговременную точность измерения положения носителя информации.
Номер детали, :
I6700Минимальный объем заказа (MOQ) :
1Серия продукции и параметры
| Параметр | Технические индикаторы | ||
| I6700-A | I6700-B | I6700-C | |
| Гироскоп | |||
| Диапазон (°/с) | ±200 | ±400 | ±300 |
| Полнотемпературное нулевое смещение (°/ч, 3σ) | ≤0,3 | ≤2 | ≤80 |
| Стабильность при нулевом смещении (°/ч, 10 с) | ≤0,1 | ≤0,5 | ≤3 |
| Нестабильность нулевого смещения (°/ч, аллан, тип) | ≤0,02 | ≤0,05 | ≤0,5 |
| Повторяемость при нулевом смещении (°/ч) | ≤0,1 | ≤0,3 | ≤3 |
| Случайное блуждание по углу (°/√h) | ≤0,01 | ≤0,02 | ≤0,025 |
| Нелинейность масштабного коэффициента (ppm) | ≤100 | ≤100 | ≤100 |
| Ось перекрестной связи (рад) | ≤0,001 | ≤0,001 | ≤0,001 |
| Полоса пропускания (Гц) | ≥50 | ≥200 | ≥200 |
| Акселерометр | |||
| Диапазон (г) | ±10 | ±30 | ±20 |
| Полнотемпературное нулевое смещение (мг, 3σ) | ≤0,5 | ≤2 | ≤2 |
| Стабильность при нулевом смещении (мкг, 10 с) | ≤20 | ≤50 | ≤50 |
| Нестабильность нулевого смещения (мкг, аллан, тип) | ≤10 | ≤30 | ≤30 |
| Повторяемость нулевого смещения (ug) | ≤20 | ≤50 | ≤60 |
| Случайное блуждание скорости (м/с/√ч) | ≤0,02 | ≤0,03 | ≤0,04 |
| Нелинейность масштабного коэффициента (ppm, ±1g) | ≤100 | ≤100 | ≤100 |
| Ось перекрестной связи (рад) | ≤0,001 | ≤0,001 | ≤0,001 |
| Полоса пропускания (Гц) | ≥50 | ≥200 Гц | ≥200 |
| Точность навигации | |||
| Север стремится к точности (°, 1σ) | ≤0,5 | ≤3 | / |
| Точность по чистой инерции после потери захвата (1σ, 60 с, без учета начальной ошибки) | ≤3м/60с | ≤5м/60с | ≤10м/60с |
| Точность измерения высоты | ≤5 см | ≤5 см | ≤5 см |
| Совокупное горизонтальное положение (м, 1σ) | ≤2 (одна точка) | ≤2 (одна точка) | ≤2 (одна точка) |
| ≤0,02+1 ppm (RTK) | ≤0,02+1 ppm (RTK) | ≤0,02+1 ppm (RTK) | |
| Совокупное положение в направлении неба (м, 1σ) | ≤3 (одна точка), | ≤3 (одна точка), | ≤3 (одна точка), |
| ≤0,03+1 ppm (RTK) | ≤0,03+1 ppm (RTK) | ≤0,03+1 ppm (RTK) | |
| Суммарная горизонтальная скорость (м/с, 1σ) | ≤0,05 | ≤0,05 | ≤0,05 |
| Суммарная скорость движения в небо (м/с, 1σ) | ≤0,1 | ≤0,1 | ≤0,1 |
| Совместный курс (°, 1σ, в реальном времени) | ≤0,1 (двухантенная система с базой 2 м) | ≤0,1 (двухантенная система с базой 2 м) | ≤0,1 (двухантенная система с базой 2 м) |
| ≤0,15 (одноточечное, динамическое) | ≤0,15 (одноточечное, динамическое) | ≤0,2 (одноточечное, динамическое) | |
| ≤0,05 (RTK, динамический) | ≤0,05 (RTK, динамический) | ≤0,1 (RTK, динамический) | |
| ≤0,03 (постобработка) | ≤0,03 (постобработка) | ≤0,05 (постобработка) | |
| Совместное горизонтальное положение (°, 1σ, в реальном времени) | ≤0,015 (одноточечное, динамическое) | ≤0,015 (одноточечное, динамическое) | ≤0,05 (одноточечное, динамическое) |
| ≤0,01 (RTK, динамический) | ≤0,01 (RTK, динамический) | ≤0,03 (RTK, динамический) | |
| ≤0,007 (постобработка) | ≤0,007 (постобработка) | ≤0,01 (постобработка) | |
| Физические характеристики | |||
| Источник питания (В) | 9~36 | ||
| Мощность в установившемся режиме (Вт) | ≤4 | ||
| Время запуска (с) | ≤2 | ||
| Скорость передачи данных (Гц, макс.) | 200 | ||
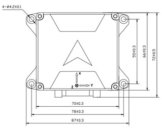
| Размер (мм×мм×мм) | 87×72×56 | ||
| Вес (г) | 370±20 | ||
| Операционная среда | |||
| Рабочая температура (℃) | -40~+80 | ||
| Температура хранения (℃) | -55~+85 | ||
| Вибрация (г, среднеквадратичное значение) | 20~2000 Гц, 6.06 | ||
| Удар (г) | 500 г/1 мс | ||
Производственный процесс
Размеры изделия


Сценарии применения



Часто задаваемые вопросы
Xml политика конфиденциальности блог Карта сайта
Авторское право
@ Микро-Магия Инк Все права защищены.
ПОДДЕРЖИВАЕМАЯ СЕТЬ