C90-C — это высокоточный всепозиционный самолет. 3D электронный компасБлагодаря использованию передовых алгоритмов калибровки с применением твердого и мягкого железа, компас обеспечивает высокоточную информацию о направлении движения в диапазоне углов крена 360° и полного наклона +/-90°. Он отличается малыми размерами и низким энергопотреблением, что делает его более подходящим для измерительных систем, чувствительных к объему потребляемой мощности. Точная информация о положении устройства может использоваться в системах с полным вращением. Данное устройство оснащено компенсацией жесткого и мягкого магнитного поля, а также компенсацией наклона, и после калибровки компас выдает высокоточные значения измерений.
Номер детали, :
C90-CМинимальный объем заказа (MOQ) :
1Режим вывода :
RS232/RS485/TTL/RS422 optionalШирокий диапазон рабочих температур :
-40~+85℃Размер :
(33*27*8mm) (can be customized)Входное напряжение :
DC +5V (DC +9~36V can be customized)Уровень защиты :
IP67 (IP68 customized)Серия продукции и параметры
| Параметр | C90-C | |
| Параметры курса по компасу | Точность направления | 0,3~0,5° (среднеквадратичное значение, шаг спирали)<85°) |
| Разрешение | 0,1° | |
| Повторяемость | 0,05° | |
| Параметры наклона компаса | Точность подачи | 0,1° |
| точность броска | 0,1° (шаг)<65°) | |
| 0,2° (шаг)<80°) | ||
| 0,5° (шаг)<86°) | ||
| Разрешение по углу наклона | 0,01° | |
| Диапазон наклона | Тангаж: ±90°; Крен: 360° | |
| Калибровка | Калибровка твердого железа | Да |
| Калибровка мягкого железа | Да | |
| Калибровка наклона | Да | |
| Физические свойства | Размер | Д33*Ш27*В8 (мм) |
| Масса | 10 г | |
| Разъем интерфейса RS-232/RS485 | прямая исходящая линия | |
| Особенности интерфейса | Задержка запуска | <50 мс |
| Максимальная частота дискретизации | 50 раз/секунду | |
| скорость передачи данных RS-232 | Скорость передачи данных: 2400–19200 бод | |
| Связь по протоколу RS-485 | необязательный | |
| TTL-связь | необязательный | |
| Формат вывода | шестнадцатеричная | |
| Источник питания | Поддерживаемое напряжение | DC+5V (9~36V) |
| Текущий (макс.) | 40 мА | |
| Рабочий режим | 30 мА | |
| Среда | Диапазон хранения | -40℃--+125℃ |
| Рабочая температура | -40℃--+85℃ | |
| Вибростойкость | 2600 г | |
Производственный процесс
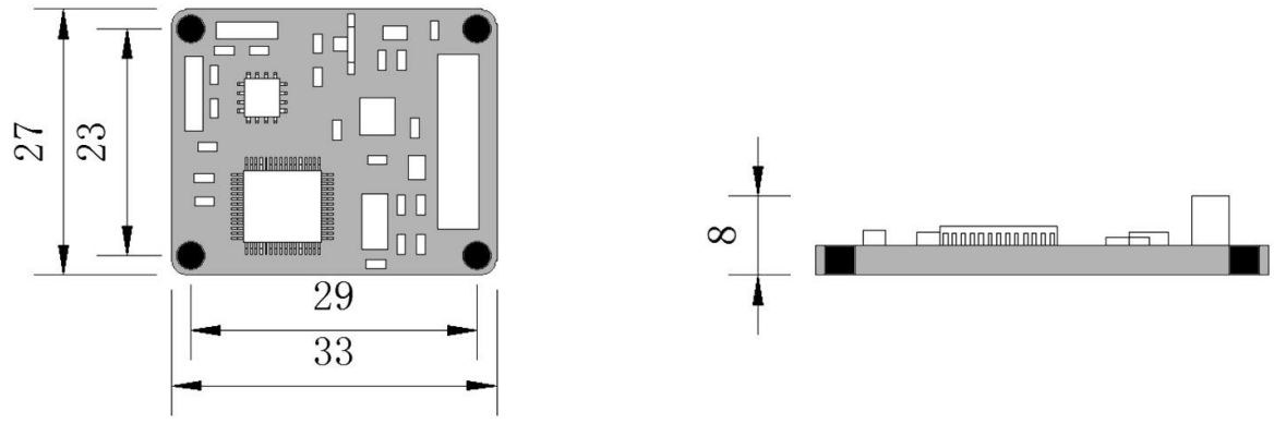
Размеры изделия

Размеры изделия: Д33*Ш27*В8 мм
По умолчанию датчик устанавливается горизонтально вверх: во время установки поверхность, на которую он устанавливается, должна быть параллельна измеряемой целевой поверхности; пожалуйста, обратитесь к схеме поворота для получения информации о способе установки. Если требуются другие способы установки, пожалуйста, обратитесь к схематическому описанию «Способ установки изделия» и укажите это при оформлении заказа.
Сценарии применения



Часто задаваемые вопросы
Xml политика конфиденциальности блог Карта сайта
Авторские права @ Микро-Магия Инк Все права защищены.
ПОДДЕРЖИВАЕТСЯ СЕТЬ