Быстроразвертываемый прибор для определения направления на север для полевых условий
Прибор NF3700 используется для измерения относительной угловой скорости, сигнала линейного ускорения и скорости несущего объекта в инерциальном пространстве, а также сигнала высоты, положения и ориентации.
Данное руководство предназначено для повседневного использования и технического обслуживания прибора определения положения NF3700.
Номер детали, :
NF3700Минимальный объем заказа (MOQ) :
1Серия продукции и параметры
| NF3700-A | NF3700-B | |
| Точность поиска | ≤±0,3° среднеквадратичного значения | ≤±0,5° среднеквадратичного значения |
| Разрешение по азимуту | 0,01° | |
| Повторяемость | ≤±0,2° | |
| Пора отправиться на Север | ≤5 мин | |
| Частота обновления | 100 Гц | |
| Режим работы | Статическое состояние | |
| Напряжение питания | 24 В (9–36 В постоянного тока) | |
| Потребление электроэнергии | ≤15 Вт (пиковая мощность ≤20 Вт) | |
| Масса | ≤1500 г | |
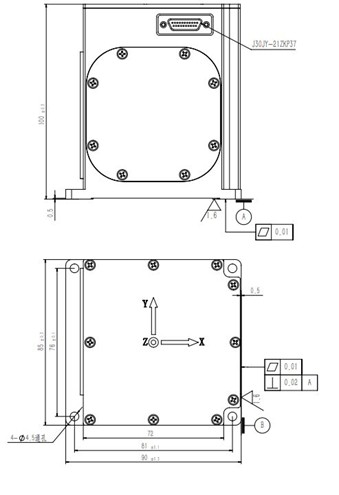
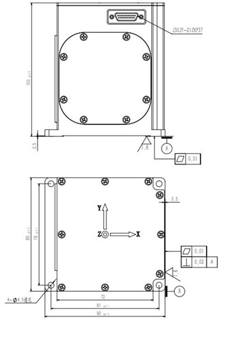
| Разъем | J30JY-21ZKP37 | |
| Рабочая температура | -20℃~+60℃ | |
| Температура хранения | -40℃~+65℃ | |
| Режим вывода | RS422 | |
| Шокирующий | 10 г-20 г 11 мс | |
| Обработка поверхности | Черное анодирование | |
| Уровни защиты | IP65 | |
Производственный процесс
Размеры изделия

Рисунок 1: Схема расположения компонентов продукта
Сценарии применения



Часто задаваемые вопросы
Xml политика конфиденциальности блог Карта сайта
Авторское право
@ Микро-Магия Инк Все права защищены.
ПОДДЕРЖИВАЕМАЯ СЕТЬ